
'Beyninin yarısı alınan insanlar normal yaşamını sürdürüyor'
Kaliforniya Teknoloji Enstitüsü’nden nörologlar, ameliyatla beyninin yarısı alınan insanların normal bir yaşam sürdürdüğünü söyledi.
Science Alert haber portalının Kaliforniya Teknoloji Enstitüsü’nden nöroloji uzmanlarının araştırmasına dayandırdığı haberde, beyinlerinin yarısı alınan insanların normal bir yaşam sürebildikleri belirtildi.
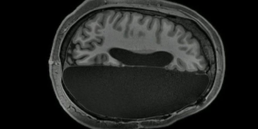
Habere göre bilim insanları, çocukluklarında normal ilaçlarla tedavi edilemeyen şiddetli epilepsi geçiren ve kurtarılmaları için beyinlerinin yarısı alınan 6 hastanın manyetik rezonans tomografisini (MR) çekti.
Ardından araştırmacılar, hasta kişilerin MR sonuçlarını sağlıklı insanlara çekilmiş olan tomografi sonuçları ile karşılaştırdı.
Çalışmanın sonuçları, bir yarım küresi eksik olan insanlarda beynin aktivitesinin, tüm beynin aktivitesi ile büyük bir benzerlik gösterdiğini ortaya koydu.
Bunu kanıtlayan şe ise, tek yarım küredeki nöron ağlarının arasındaki istikrarlı bağlar oldu. Söz konusu bağların tek yarım kürenin eksikliğini kısmen telafi ettiği ve hastanın bilişsel yeteneklerini desteklediği ortaya çıktı.




fdfd.gif)


HABERE YORUM KAT